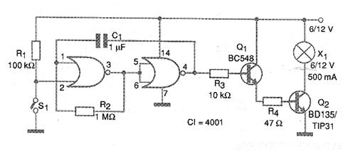
In the figure we show another interesting application for integrated circuit 4001. This circuit causes a lamp to flash, producing flashes in the frequency of 1 Hz, determined by capacitor C1. Lamps up to 500 mA can be controlled with the BD135 transistor and with the use of TIP31 lamps of higher wattages can be used. The power transistor must be mounted on a heat radiator and the power can be supplied with voltages from 6 to 12 V depending on the lamp. An interesting application for this circuit is in automotive signaling. Note that the circuit has a low consumption switch that is used to control it without the need to act directly on the supply. This means that instead of this switch, we can use low consumption sensors as reed-switches in alarm systems. In this case, just replace the lamp with a good audio oscillator, a bell or a relay that activates a powerful external warning system.




