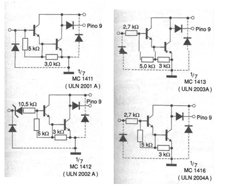
The integrated circuits of the ULN2001 / 2/3/4 series also known as MC1411 / 12/13/14 consist of Drivers that can provide up to 500 mA output for direct control of loads from digital signal inputs. The four circuits are differentiated by the internal configuration of their Darlington transistors, as shown in figure.





