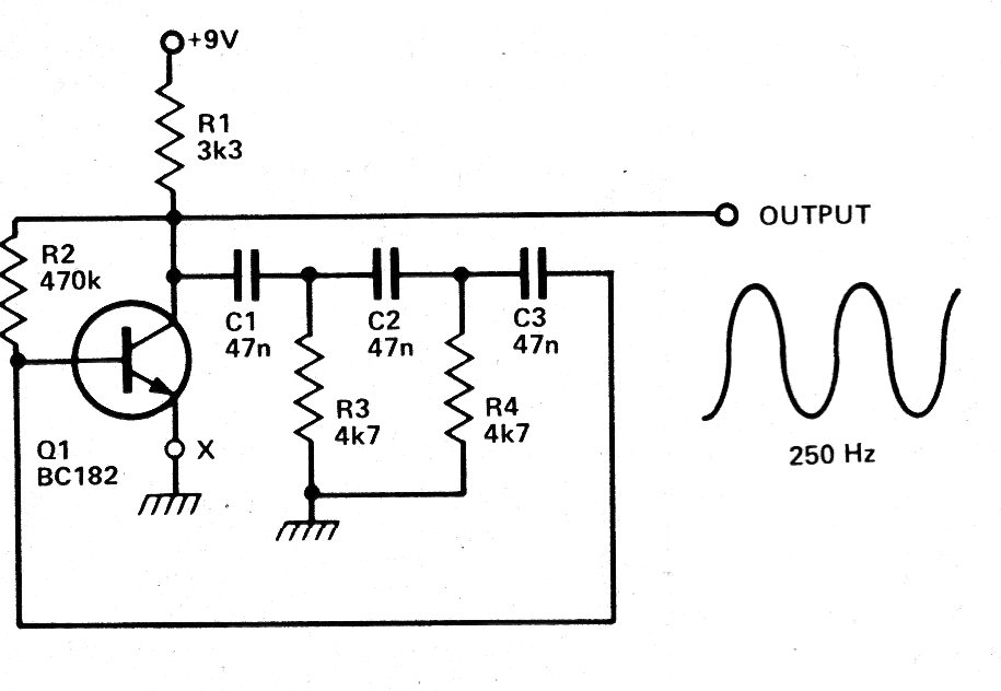
This traditional circuit generates a 200 Hz sinusoidal signal. The frequency depends on the capacitors and the transistor can be a BC548. We found this circuit in a 1979 documentation.
This circuit consists of a voltage regulator for 6 V batteries with a very low voltage drop. The...
This radiation detector was found in an American publication from the 60's. The circuit uses a...
This circuit generates a clock signal of a few megahertz to synchronize TTL circuits. The power is TTL...