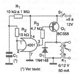
In the figure we show another timer, this one is simpler because it uses only one of the four ports of integrated circuit 4001. This circuit goes into action when the power is on, in which case it activates the relay. We can use it as a delayed drive circuit for equipment sensitive to sudden supply voltage applications. At the end of the time determined by R1 and C1, the relay is activated, energizing the external load. We can reverse its action using an NPN transistor. The highest value for R1 is 1 M ohms and for C1 it is 2 200 uF in which case times up to more than half an hour can be obtained. Longer times are compromised, mainly by the instabilities caused by leaks in the capacitor. Using a power Darlington like the TIP115, loads with currents up to 1 A can be controlled directly.




