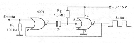
In the figure we show a monostable that uses two of the four ports available on 4001. The duration of the pulse generated at the output when a short pulse is applied at the input depends on the value of capacitor C. This component can have values in the range of 1 nF to 100 uF. The supply can be done with voltages from 3 to 15 V and the output signal is rectangular.




