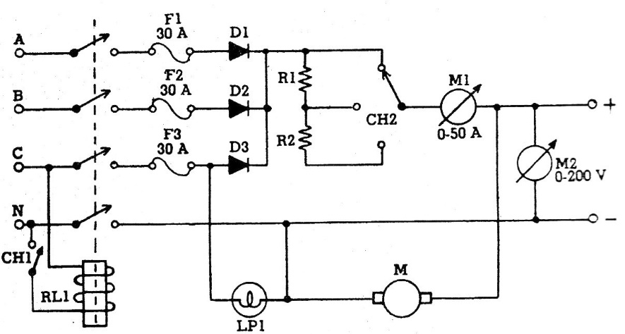
Found in a documentation from the 70s, this source allows to obtain continuous voltages from a three-phase supply. The voltage depends on the three-phase network, and the diodes are according to the desired current in the load.
Found in a documentation from the 70s, this source allows to obtain continuous voltages from a three-phase supply. The voltage depends on the three-phase network, and the diodes are according to the desired current in the load.