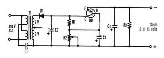
This simple power source with only one transistor can be used in the laboratory, without overload protection. The transistor must be equipped with a heat radiator. We found this circuit in a documentation from the 70s.


This simple power source with only one transistor can be used in the laboratory, without overload protection. The transistor must be equipped with a heat radiator. We found this circuit in a documentation from the 70s.

