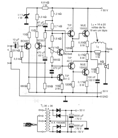
This circuit is from 1998 documentation. Output transistors and TIPs must be equipped with heat radiators. The symmetric source must provide at least 5 A. Great care must be taken with the layout of the high current tracks. A power supply is provided with the circuit. Trimpot T is set to a rest current of the order of 100 mA. The source diodes are for 100 V x 5 A.




