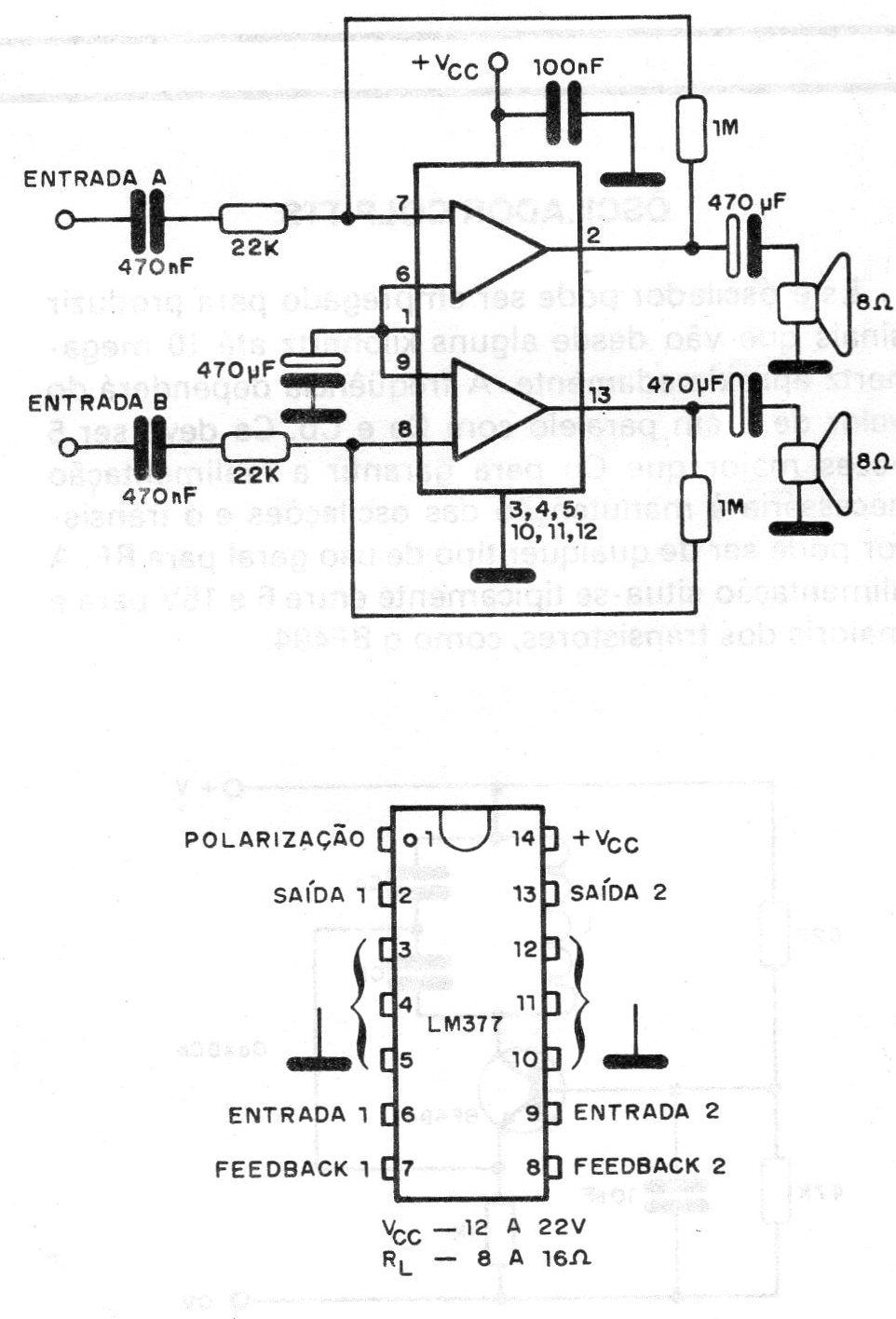
With 12 V of power and 8 ohms in each speaker we have 1.6 W of power per channel. With a 22 V supply and a load of 8 ohms, we have 4.6 W per channel, this being the limit of this small amplifier that serves as a basis for economical audio systems or other applications where high fidelity and low power are required. The 1M resistors are responsible for the gain of the circuit, feeding the input (through pins 7 and 8) with a part of the output signal.




