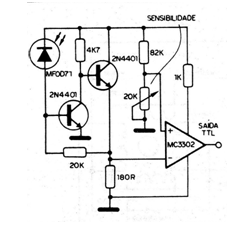
Data from a serial output can be transferred to a remote serial input via an optical link via fiber optics. In figure 1 we have the transmitter, which uses a common or infrared LED adapted for this purpose or the Motorola MFOE1200 that reaches a maximum operating frequency of 100 MHz in the infrared range and has its own housing for coupling in optical fibers. The suggested receiver is shown in figure 2 and uses a phototransistor as a base. We suggest the MFOD71 from Motoro!a which also has its own housing for coupling in optical fiber and its sensitivity is greater, around 8000 Angstrons. The maximum recommended cable length for this sensor is 60 meters, with an excitation current in the transmitter of 100 mA. For a greater range, the MFOD73 can be used as a sensor, which accepts cables up to more than 180 meters, since it is a Darlington. A more elaborate TTL receiver for this photo sensor is shown in figure 3. The maximum speed allowed for receiving data is 1 MHz.
Figure 1
Figure 2
Figure 3






