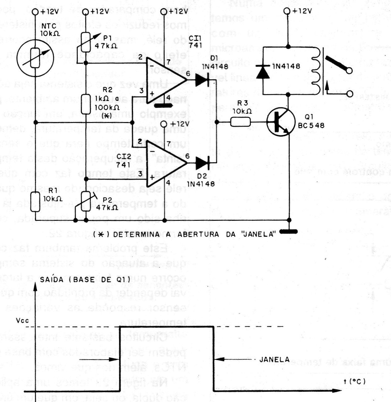
The presented circuit uses a window comparator to keep a relay activated only when the sensor is kept in a temperature range that can be adjusted in P1 and P2. The integrated circuit can be replaced by another operational one or even comparators in the LM139 series. The relay is 12 V x 50 mA.




