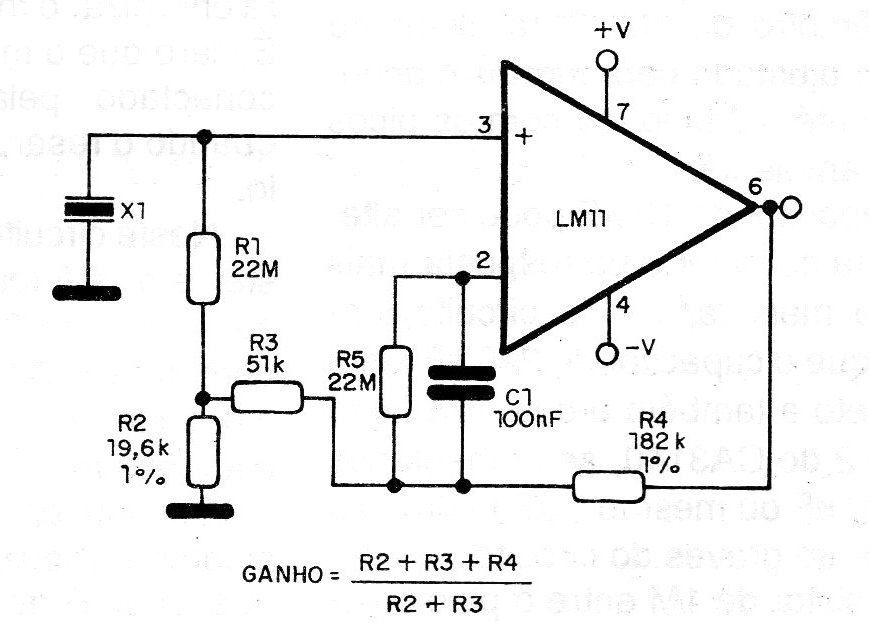
This amplifier, suggested by National Semiconductor, is characterized by its very high input impedance of 880 Megohms, and makes use of an operational LM11. The power supply must be symmetrical from 9 to 15 Volts and the resistors at the most critical points must be within 1% tolerance. One of the applications for this circuit is in vibration sensors, or even in audio.




