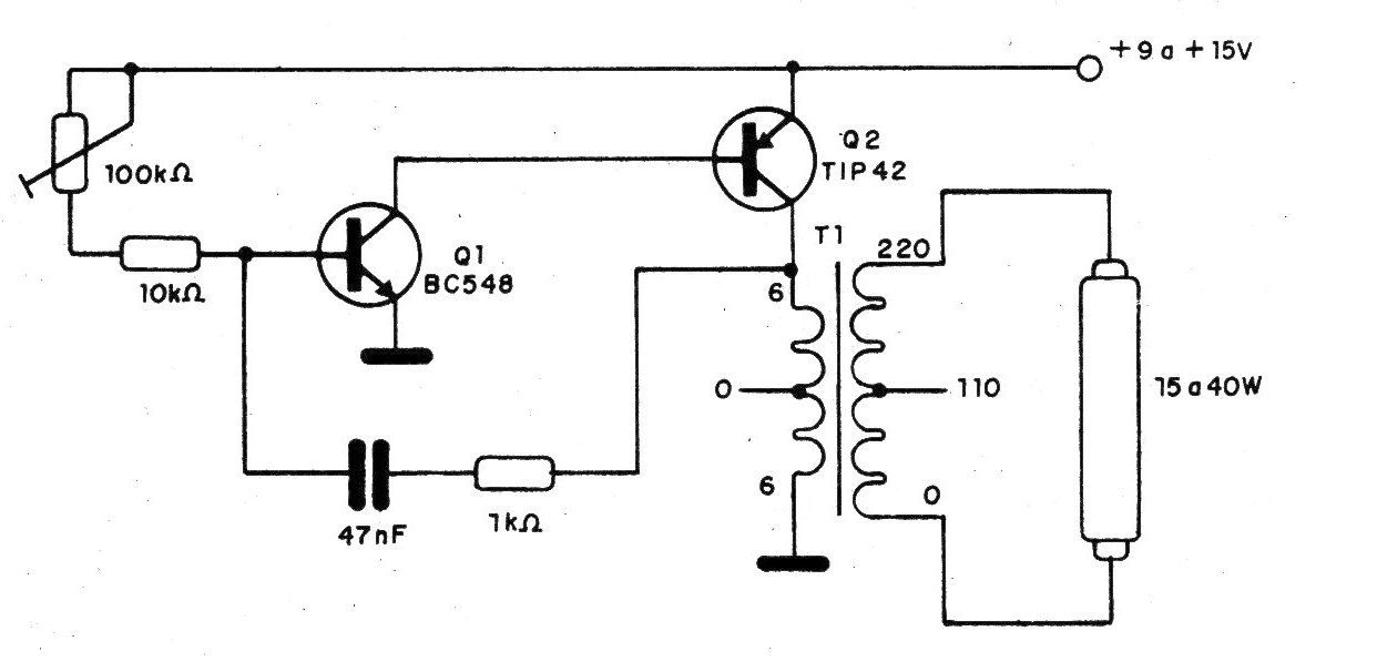
With this circuit we can light fluorescent lamps, even if they are exhausted, for normal operation in the power grid, from voltages between 9 and 12 V of batteries. The required current will be between 300 and 800 mA, depending on the supply voltage and the trimpot setting. The trimpot must be adjusted to obtain a higher brightness or the necessary brightness for the application depending on consumption. The transformer has a secondary of 500 mA at 1 A and the transistor Q2 must have a good heat radiator. Fluorescent lamps from 15 W to 40 W can be tried out.




