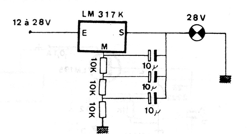
This configuration from an old documentation, but still current, shows how to implement a blinker for incandescent lamp with voltage regulator. The regulator used is 1.5 A but the LM350 can be used for 3 A. For currents above 500 mA the regulator must be equipped with a heat sink. The lamp must be in accordance with the input voltage.




