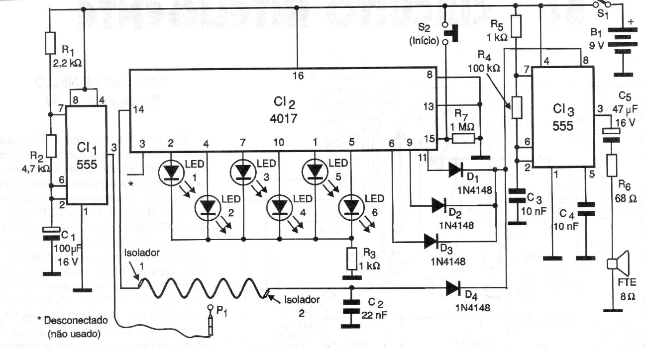
This game consists of a variation of the Nerve-Test with the difference that errors are indicated sequentially (counting) on LEDs. When the last LED is reached, the next error will trigger a warning oscillator, indicating that the start has ended. The circuit is powered by standard batteries or 9 V battery.




