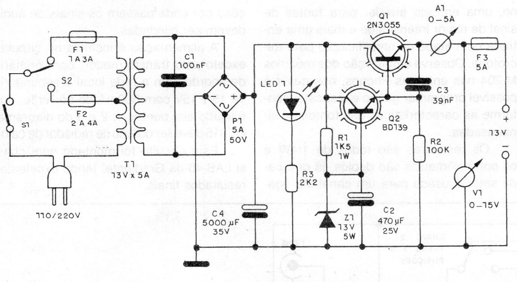
This conventional source with transistors was found in a 1989 documentation. The transistors must be mounted on heat sinks and the diode bridge can be replaced by 4 diodes of 5 A x 50 V. The circuit is indicated for the radio supply and old radio, tape-decks and CD players up to 5 A of current.




