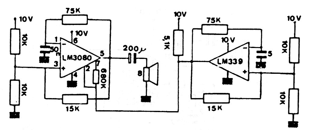
The two integrated circuits used in this configuration can still be found. The frequencies of the effects are determined by the capacitors, which may have their values changed.
This circuit triggers an alarm when the mains power is cut off. The circuit was found in the July...
This acutely tuned circuit was found in American documentation from the 1960s. The transistors are germanium...
This small AM transmitter was found in American documentation from the 1980s. Transistor support...