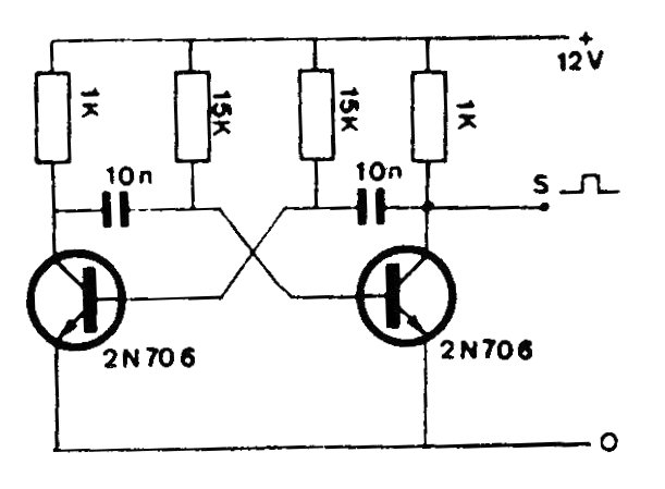
This astable multivibrator is one of the many configurations that we have in this section and on this website. This was found in documentation from the 1980s, using transistors from that time.

This astable multivibrator is one of the many configurations that we have in this section and on this website. This was found in documentation from the 1980s, using transistors from that time.
