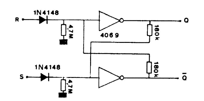
In the figure we have the way to control a flip-flop with the 4069 from positive pulses. The circuit can be used as a shield, if powered by 5 V.
This is the circuit for the HM-10ª, an instrument sold by Heathkit. The circuit is from a Radio...
This circuit indicates when the monitored voltage drops below the value determined by the divider...
This circuit, from a 1975 Motorola manual, uses a power Darlington transistor of the time. We can...