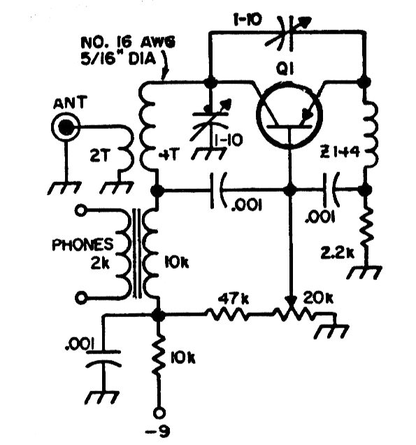
This super regenerative 1-transistor receiver was obtained in an American documentation from the 1980s. The coils can be modified to other frequency ranges and the transistor can be any RF PNP or even NPN if the power is reversed.

This super regenerative 1-transistor receiver was obtained in an American documentation from the 1980s. The coils can be modified to other frequency ranges and the transistor can be any RF PNP or even NPN if the power is reversed.
