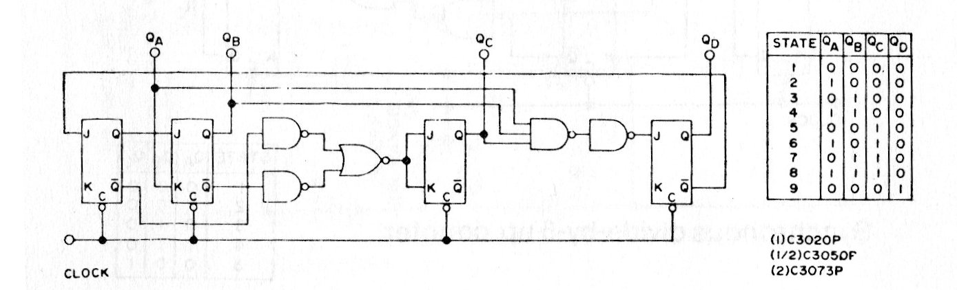
This divider by 9 is synchronized because it is implemented based on TTL or CMOS logic according to the desired application. The circuit is from American documentation and the maximum speed depends only on the logic used.
This divider by 9 is synchronized because it is implemented based on TTL or CMOS logic according to the desired application. The circuit is from American documentation and the maximum speed depends only on the logic used.