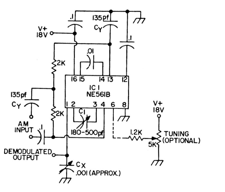
With this circuit it is possible to tune an AM signal using a 5k potentiometer (4k7). The circuit was found in a publication from the 1980s and the PLL can be replaced by an equivalent one, with tests.
We found this test circuit in a March 1967 Radio Electronics. The circuit uses a zener-regulated supply and...
We found this circuit in a 1995 publication. It applies to transceivers in the citizen's range (11...
The figure shows how to associate flip-flops in a shift register to obtain a lower frequency...