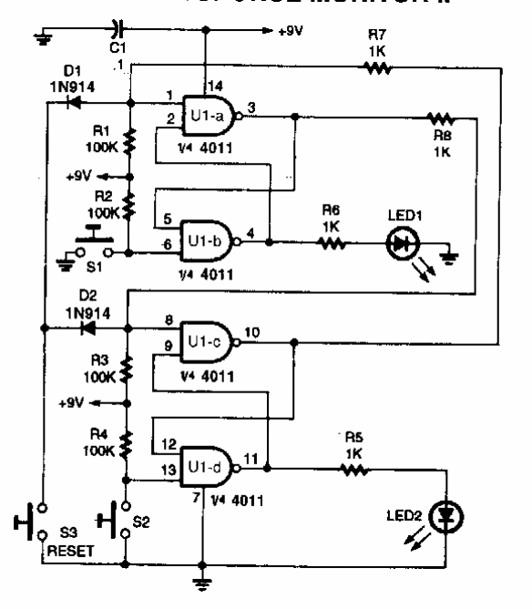
We found this game for two competitors in a Popular Electronics from the 80's. The circuit can be powered by voltages from 6 to 12 V.

We found this game for two competitors in a Popular Electronics from the 80's. The circuit can be powered by voltages from 6 to 12 V.
