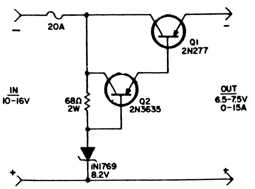
This reducer was found in documentation from the 1980s, using transistors of the time. The higher current transistor must have an excellent heat sink.
We found this timer circuit in an American documentation from the 1980s. The circuit uses the 6 V...
This commercial radio for the AM band was sold in Japan in the 1960s. The circuit has an IF of 455...
This 1989 circuit generates horizontal bars on the screen of an old analog television. The circuit...