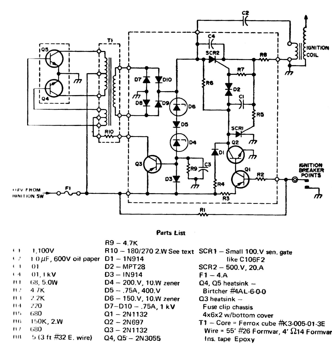
The critical component of this 1975 circuit is the transformer of the voltage inverter sector. The rest of the components are from the period, and equivalents can be tested. The circuit is worth more as a reference for a more modern project.
The critical component of this 1975 circuit is the transformer of the voltage inverter sector. The rest of the components are from the period, and equivalents can be tested. The circuit is worth more as a reference for a more modern project.