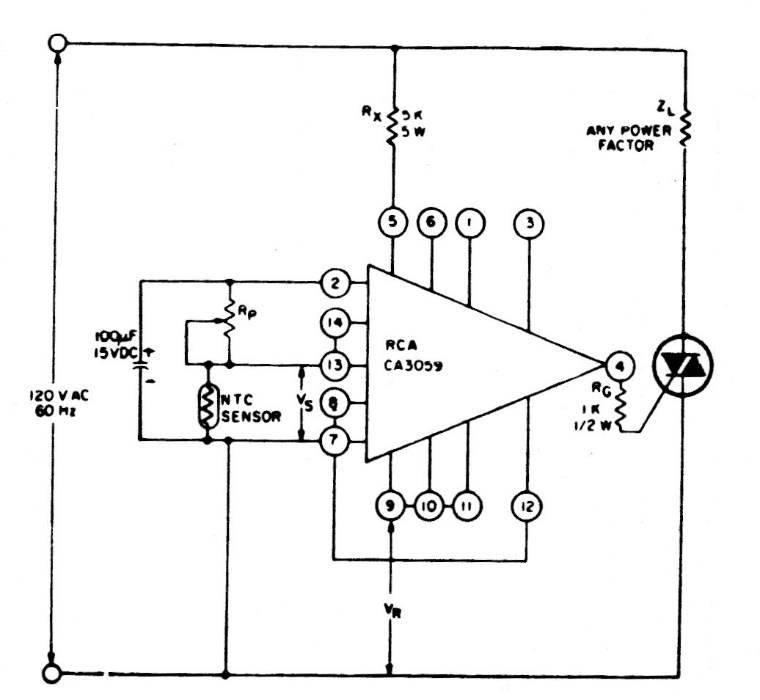
The load of this circuit depends on the triac and the integrated circuit used is uncommon today. The circuit is from 80s documentation. The triac must have a heat sink.
We found this complementary simetry configuration in a1980s documentation. Transistors, which are...
This circuit was obtained from the May 1971 issue of Radio Electronics magazine and is intended for...
This circuit acts as a VU-meter when connected at the output of any audio amplifier, triggering a...