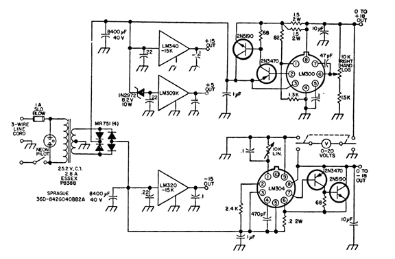
This 75 W power supply was found in American documentation from the 1980s. Transistors can be replaced with equivalents. Voltage regulator integrated circuits are of a difficult type to find today. Possible equivalents can be used with changes to the circuit.
.




