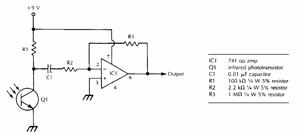
Found in American documentation from the 1990s, this circuit receives modulated infrared signals. The baud rate depends on the operative used. The main application is like audio link.
This circuit is suggested by the Linear Applications Handbook of National Semiconductor, being used...
This traditionally configured power supply provides +12, -12 V and 5 V voltages for operating and...
This simple timer based on unijunction and SCR transistors is from 1995 documentation. The maximum...