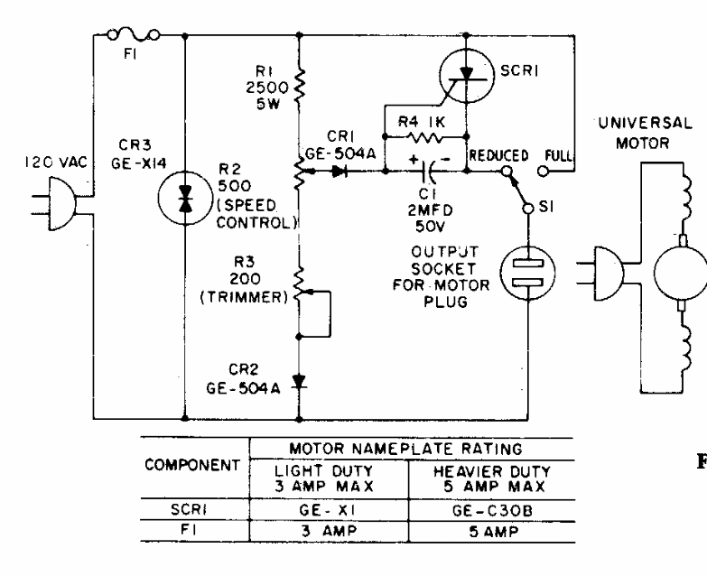
This plug-in control was found in General Electric documentation from the 1970s. The SCR can be the TIC106 mounted on a heatsink. The circuit can be changed to the 220 V network.
The circuit presented is based on the National Semiconductor's LM3524, a component not common...
This circuit was obtained in an old American publication from 1974. The supply must be made with 5 V...
This configuration can be made based on other operational amplifiers. For other frequencies, the...