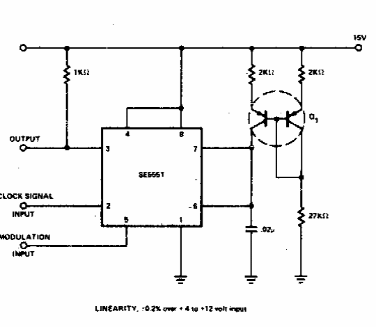
This linear modulator was found in old documentation. The integrated circuit used is uncommon today, as well as the double transistor that consists of a matched pair.

This linear modulator was found in old documentation. The integrated circuit used is uncommon today, as well as the double transistor that consists of a matched pair.
