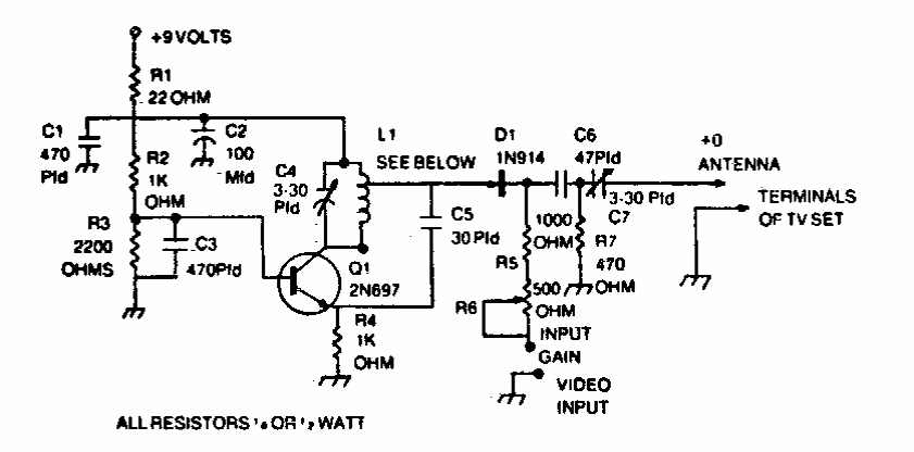
This circuit was found in documentation from the 1970s. The transistor supports modern equivalents. L1 with C4 determines the frequency range of the signals that will be produced.
This circuit was obtained in a 1986 documentation consisting of an active frequency divider for...
OSEPP makes available through Mouser Electronics a series of 100% Arduino compatible robotic kits. The...
We found this circuit in a 1977 National Semiconductor audio manual. The integrated circuit is the...