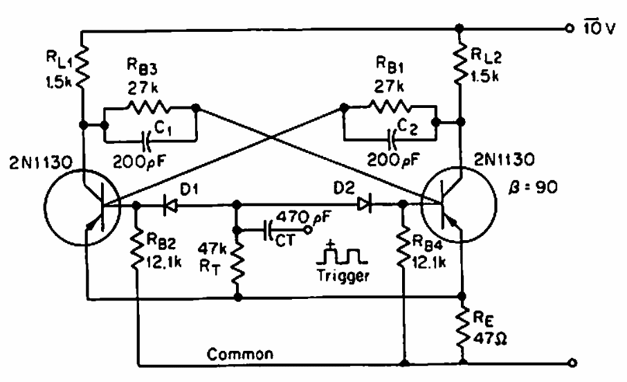
Found in American documentation, this circuit can make use of modern equivalent transistors. The circuit triggers with positive pulses.
This Sample & Hold circuit configuration is from an American 1980s documentation. The circuit uses...
By LED flashes you can get an idea of the degree of moisture in the soil. The sensors are wires...
Found in an old Popular Electronics, the purpose of this circuit is to give a strong discharge in an...