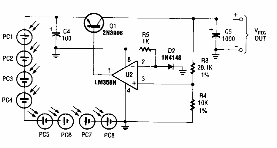
The circuit is from an Electronics Hobbyst Handbook from the 90s, being valid for panels of the time, with lower performance. The circuit supplies 2.4V with 125mA current.
The proposed circuit generates signals in the range between 9 kHz and more than 44 kHz, which, it is...
This circuit uses currently uncommon components, including the 10.7 MHz (FI) filter. This circuit was...
This small power supply for low currents (5mA) is suitable for power low-power TTL experimental circuits....