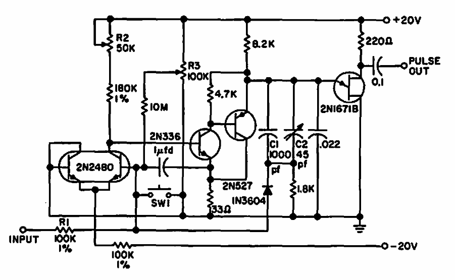
This circuit was obtained from a General Electric publication from the 1960s. The transistors are from the time and the circuit produces a 1 kHz signal with 1 V input.
The proposed circuit generates signals in the range between 9 kHz and more than 44 kHz, which, it is...
This circuit uses currently uncommon components, including the 10.7 MHz (FI) filter. This circuit was...
This small power supply for low currents (5mA) is suitable for power low-power TTL experimental circuits....