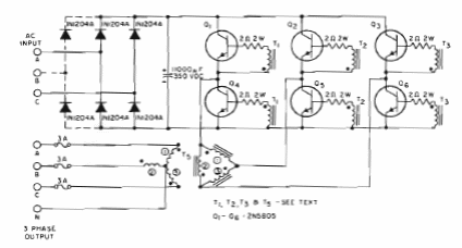
This circuit was found in the RCA Power Transistor manual from the 70's. The circuit uses power transistors of the time.

This circuit was found in the RCA Power Transistor manual from the 70's. The circuit uses power transistors of the time.