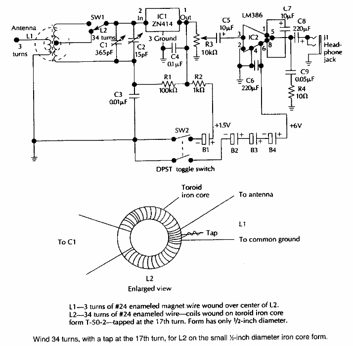
This receiver for frequencies up to 18 MHz was found in American documentation from the 1990s. Data for coil winding is aggregated.
Found in National Semiconductor documentation from the 90's, this circuit has an output current of...
With this circuit it is possible to raise the characteristics of a transistor by checking its gain...
The circuit presented is from the Linear Applications Handbook of the National Semiconductor of...