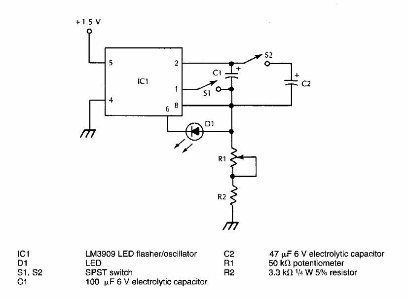
Based on the well-known LM3909, this LED pulser circuit was found in American documentation from the 90's. The power supply is only 1.5 V.
The proposed circuit generates signals in the range between 9 kHz and more than 44 kHz, which, it is...
This circuit uses currently uncommon components, including the 10.7 MHz (FI) filter. This circuit was...
This small power supply for low currents (5mA) is suitable for power low-power TTL experimental circuits....