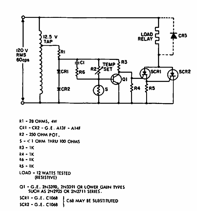
This circuit for heating elements was taken from a 1966 General Electric manual. The SCRs are load-according, and the sensor is 1 ohm.
We found this configuration in a Radio Electronics from 1989. The circuit can be designed with...
This interesting configuration was found in a 1965s Electronic Design. It makes use of components of...
This circuit is from old American documentation intended to trigger the flash of a camera flash with...