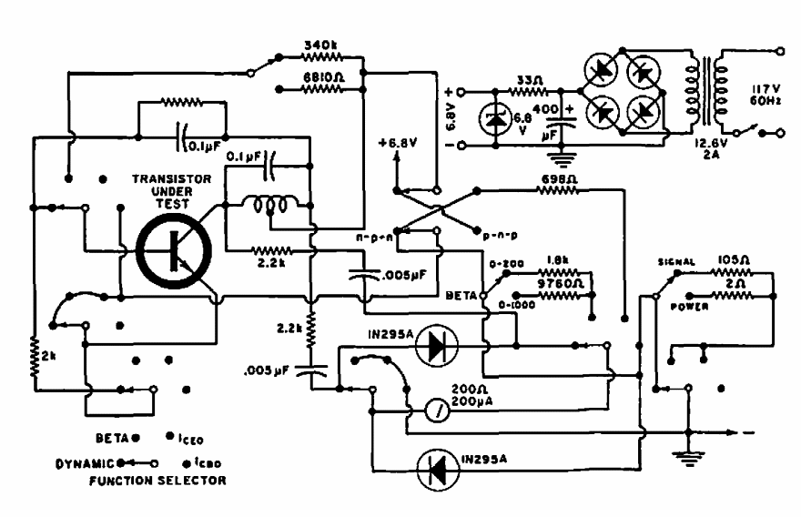
We found this circuit in a 1967 Electronics World. It analyzes a transistor by determining its type.
This circuit was obtained in a 1978 publication, but it can be assembled with current components like...
This sensitive multi-circuit and component prover uses two transistors and has a switch position where...
Suggested by an old Popular Electronics, this circuit is based on an uncommon integrated today,...