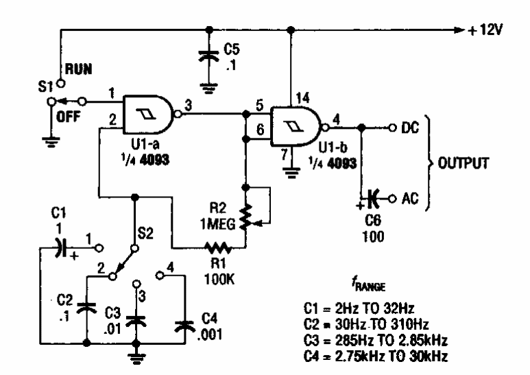
This circuit was found in a Popular Electronics from the 90s. The circuit has 4 frequency ranges selected according to the capacitors. Signal is rectangular.
) This circuit was found in a 80’s Popular Electronics. It issues a warning signal with the signal...
This circuit is ideal for creating a source that allows the use of automotive power devices on a...
This circuit for the induction motor was found in Motorola's Circuit Applications for the Triac of...