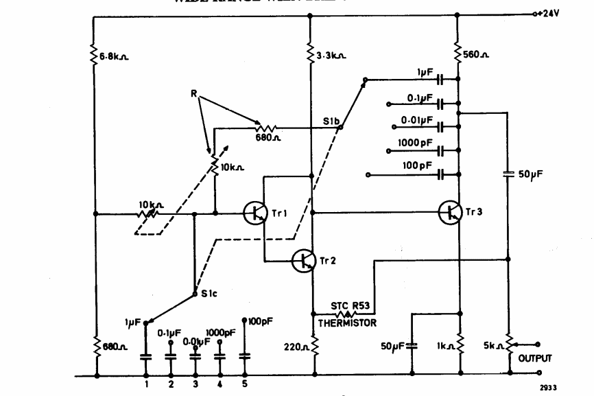
This Vienna bridge multi-band oscillator circuit was found in a 1974 Ferranti transistor manual. The circuit generates signals from 25 Hz to 1 MHz in 5 bands selected by the capacitors.
This circuit is from a technical documentation from Texas Instruments from 1978. In it we have the...
We found this circuit in a publication with experiments with operational amplifiers from 1973. The...
Using a varactor or varicap, this 1969 Electronics World circuit has a modulation range from 75...