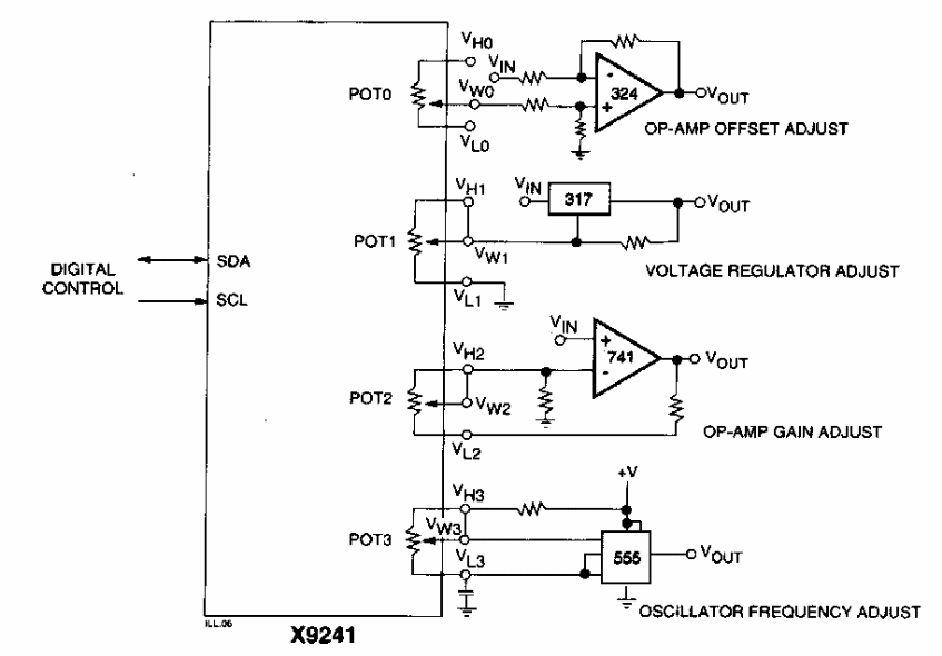
Found in an old Xicor documentation, this circuit makes use of an X9241, which contains four digitally controlled analog potentiometers.
This circuit was found in a 90s Radio Electronics. It produces an ultrasonic signal in a special...
This circuit can generate signals in the audio range between fraction of hertz up to approximately 10 kHz...
This circuit is from a 1967 publication. The configuration holds true for modern transistors having...