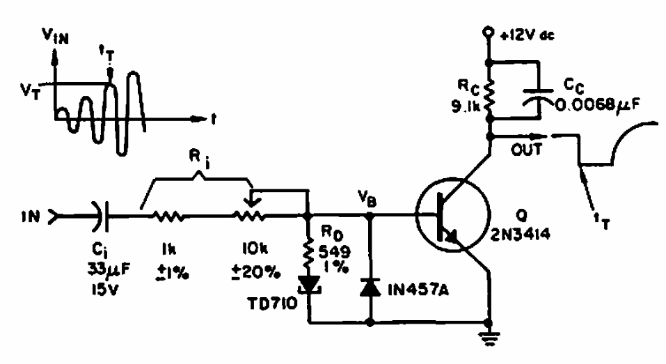
This circuit for a frequency of 10 kHz was found in an Electronic Design. It makes use of a tunnel diode. The transistor admits equivalent.
This analog thermometer was obtained from an English documentation. The sensor is a common diode...
Found in Popular Electronics from the 90s, this 1.5 A power supply can supply voltages selected by a...
This circuit was found in Radio Electronics magazine from February 1962. The sensor is an LDR, and the...