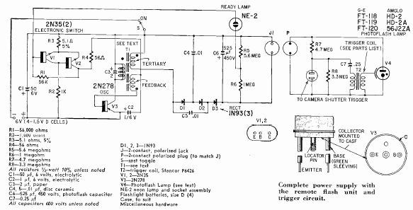
This circuit was found in Radio Electronics magazine from April 1960. It was in an article that taught how to assemble it. The circuit is powered by batteries.

This circuit was found in Radio Electronics magazine from April 1960. It was in an article that taught how to assemble it. The circuit is powered by batteries.
