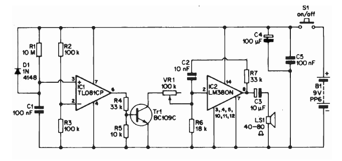
This LM380-based circuit was found in documentation from the 1980s. The components are current, and the transistor may be a general-purpose equivalent. Note the use of a medium impedance speaker.
This circuit converts the 12 to 13.6 V of a battery into 6 Vwith current up to 1 A. We can use it...
SIDACs are not yet common components in power applications that involve voltage tripping. However,...
We found this circuit for an anti-theft radar that operates at 400 MHz in a Radio Electronics from...