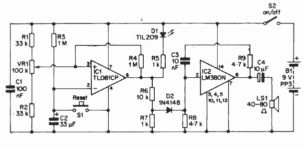
Found in English documentation, this timer produces an audio signal at the end of the timing. The time is set in VR1 depending on capacitor C2.

Found in English documentation, this timer produces an audio signal at the end of the timing. The time is set in VR1 depending on capacitor C2.
