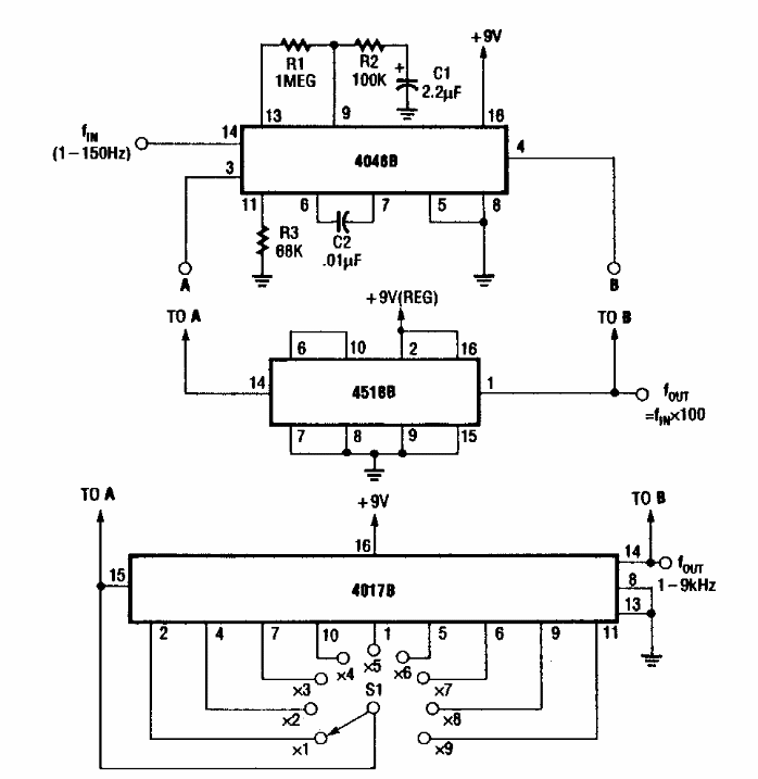
This circuit was found in an 80's Radio Electronics. The circuit multiplies the frequency of a low frequency signal by a value selected on a switch. The circuit has a maximum input frequency of the order of 150 Hz.
This circuit was found in an 80's Radio Electronics. The circuit multiplies the frequency of a low frequency signal by a value selected on a switch. The circuit has a maximum input frequency of the order of 150 Hz.