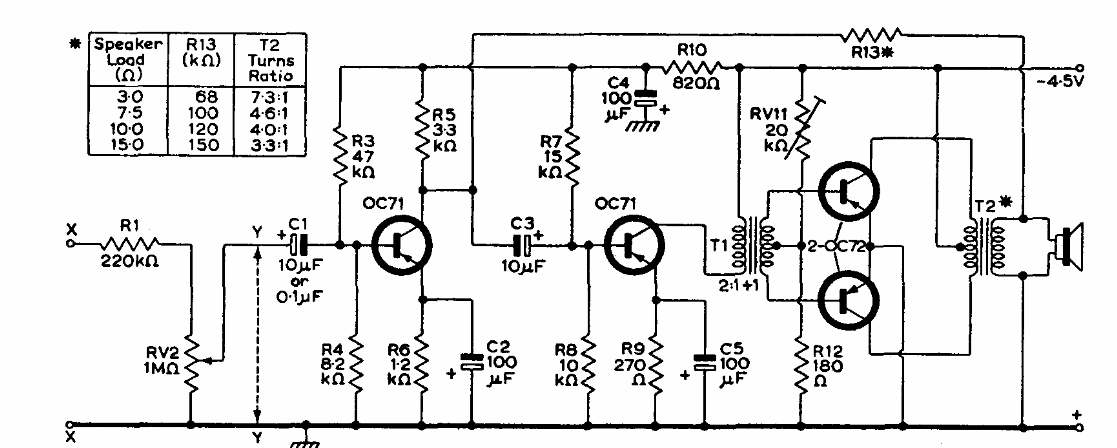
This 4-transistor amplifier can work from 4.5 or 6 V power supplies. We found it in a Mullard transistors manual from 1960. The transistors are from the time.
This VHF transmitter was found in Radio Electronics magazine from June 1964. The transistor is an...
This two-transistor circuit is from a Radio Electronics magazine from April 1965. The transistors are...
This circuit was found in a 1967 documentation. The switch diode is a component of the time and is...