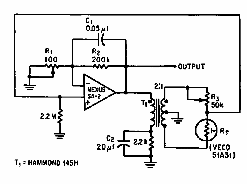
We found this circuit in an old American documentation. The operational amplifier is from the time and the output used to control an SCR or other power control.
This circuit controls a relay from the light incident on a sensor. The sensor is an LDR and the...
This biestable touch circuit with the 4093 was found in a Popular Electronics from the 90s. The...
The use of field effect transistors in this circuit improves its performance. This configuration is from a...