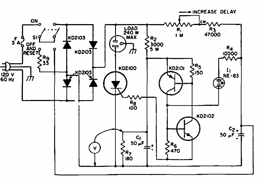
This timer can control loads up to 240 W. We found it in a 1967 RCA documentation. The main components admit modern equivalents.
This circuit for the 1750 m band was published in the September 1989 Radio Electronics magazine. The...
The purpose of this circuit is to disconnect the battery in case of an excessive charge current,...
This circuit was originally designed to operate with the alarm CIR12065 which has a tone output. It...